王健林两年多卖超78座万达广场,万达集团被执行超75亿元

48座万达广场再被集中转让。近日,据国家市场监督管理总局披露,太盟珠海、高和丰德、腾讯控股、京东潘达、阳光人寿直接或通过其各自关联方共同设立合营企业,并通过合营企业收购大连万达直接或间接持有的48家目标公司的100%股权。

这48家目标公司主要业务为大型零售商业地产运营。此次交易前,大连万达直接或间接持有100%股权,单独控制目标公司。此次交易后,前述五家公司共同控制合营企业,合营企业将100%控股目标公司。

王健林两年多卖超78座万达广场,万达集团被执行超75亿元

近年来,万达集团转向轻资产模式,为了缓解债务压力,不断出售旗下资产。仅2025年初,就已出售宣城、铜陵、安阳、四平、扬州5座万达广场。2023年12月底,五天内四座万达广场被转让,分别位于苏州、湖州、广州、上海。

据不完全统计,自2023年起,两年多的时间里,已有超30座万达广场被陆续转让。加上此次的48座,王健林近年来出售的万达广场数量颇为可观。

此次交易的48座万达广场,从区域分布来看,主要集中在经济活跃度较高的东部沿海地区和中西部重点城市,覆盖了北京、广州、成都等多个城市。

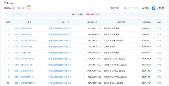
万达集团近年来不断出售旗下资产,获取大量现金流,不过,从结果来看,万达仍然债台高筑。今年以来,大连万达集团新增多条股权冻结信息、被执行人信息。企查查信息显示,大连万达集团被执行总金额已超75亿元。

王健林两年多卖超78座万达广场,万达集团被执行超75亿元

目前,王健林名下关联40余家企业,其中10家为存续或开业等状态,其余企业处于注销或吊销未注销等状态。

近日,王健林所持大连万达商业管理集团股份有限公司约3亿股权被冻结,执行法院为大连市西岗区人民法院。此前,王健林所持有的大连万达集团股份有限公司、大连合兴投资有限公司、万达体育有限公司、珠海万达锐驰企业管理有限公司股权也已被冻结,王健林被冻结股权数额合计约4.9亿。(新黄河·大鱼财经记者:刘瑾阳)

王健林两年多卖超78座万达广场,万达集团被执行超75亿元

评论